8月份深圳这些地方将继续停电 快来看看有没有你家
2017-08-02 来源:深圳新闻网
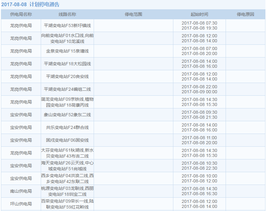
8月8日
▼
上一页
1
2
3
4
5
6
7
8
9
10
11
12
下一页
全文阅读
编辑:林玟珊
返回列表